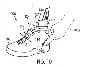
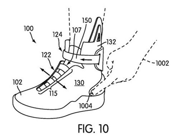
Well, the day may have finally arrived, after waiting weeks since Nike was granted a patent on auto lacing shoes a-la Back to the Future, Nike is holding a press event today to release what most people say will be the shoes from Back To the Future 2.
Members of the Press who were invited received a nice Back to the Future kit including Doc’s metal glasses, a throwback Pepsi, old school candy and Back to the Future on DVD inviting them to an event today held by Nike.
This video was also posted yesterday confirming more of what we’re all expecting, and we couldn’t be more psyched! Stay tuned for more info when we get it!

Source: Engadget


I THINK THE SHOES ARE “AWESOME!!!”
I know, I wish I could afford to buy a pair, but $10,000 for a pair of shoes is a little much for me…